Elektrik Enerjisi Üretimi Final 12. Deneme Sınavı
Toplam 20 Soru1.Soru
Aşağıdakilerden hangisi bataryaların performans karakteristiği içerisinde yer almaz?
|
gerilim |
|
batarya ömrü |
|
enerji kapasitesi |
|
şarj-deşarj oranları |
|
Ağırlığı |
Batarya ağırlığı bataryaların performans karakteristiği içerisinde yer almaz
2.Soru
Aşağıdakilerden hangisi güç birimidir?
|
Joule |
|
Newton |
|
Watt |
|
Bar |
|
Weber |
Güç(P) birimi watt’dır.
3.Soru
Nasel ile ilgili aşağıdaki ifadelerden hangisi doğrudur?
|
Nasel dişli kutusuna verilen addır.
|
|
Nasel şaftlar, frenler, kontrol ekipmanları ve dişli kutusu gibi elemanları içine alan yapıdır.
|
|
Nasel türbini yere sabitlemek için kullanılan yapıdır.
|
|
Nasel türbinin yerdeki bileşenidir.
|
|
Nasele pala da denir.
|
4.Soru
Bir rüzgâr türbininde türbin gücünü dokuz kat arttırmak için pala çapının kaç kat arttırılması gerekir?
|
2
|
|
3
|
|
4
|
|
5
|
|
6
|
5.Soru
Hibrit enerji sistemlerinin tasarımında aşağıdakilerden hangisi/hangileri önemlidir? I. Kullanılacak jeneratör sayısı ve tipi seçimi II. Aşırı güç kaybı kontrolü III. Frekans kontrolü IV. Stabilite kontrolü
|
I, II, III
|
|
I, IV
|
|
I, II, IV
|
|
II, III, IV
|
|
Yalnız IV
|
6.Soru
Aşağıdakilerden hangisi yenilenebilir enerji kaynaklarındandır?
|
Biyomas |
|
Kömür |
|
Petrol |
|
Doğalgaz |
|
Nükleer |
Yenilenebilir enerji kaynakları (güneş, rüzgar, jeotermal, biyomas) kullanılarak ikincil bir enerji olarak elde edilmektedir. Yenilenebilir olmayan (kömür, petrol, doğal gaz, nükleer)enerjidir.
7.Soru
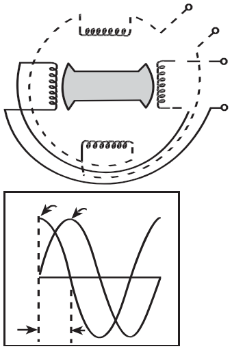
Aşağıdaki şekil hangi alternatör tipine ait belirtilmiş bir şekildir ?
|
Tek fazlı ac alternatör |
|
İki fazlı ac alternatör |
|
Üç fazlı ac alternatör |
|
Dört fazlı alternatör |
|
Dc jeneratör |
İki fazı oluşturan sarımlar fiziksel olarak birbirlerine dik açılarda (90°) bulunurlar.
Her bir fazın çıkışı 90° ayrı olur. Bu durumda iki-fazlı alternatörün fazları arasında 90° faz farkı olacaktır. Bu şekilde tasarlanan alternatörün çalışma ilkesi daha
önce gördüğümüz alternatörlerle aynıdır.
8.Soru
Aşağıdakilerden hangisinde yanma doğru olarak tanımlanmıştır?
|
Yakıt içindeki fuel oil’in veya dizel yakıtın yanıp kül haline dönmesidir.
|
|
Yakıtın içindeki maddelerin alev almasıdır.
|
|
Katı yakıtın sıcaklığının azaltılıp toz haline dönüşmesidir.
|
|
Kömürün ve fuel oil’in karıştırılıp toz haline dönüştürülmesidir.
|
|
Yakıt içindeki karbon ve diğer yanabilen maddelerin belirli bir tutuşma sıcaklığının üstünde oksijenle birleşerek ısı ve ışık enerjisinin çıkmasıyla sonuçlanan kimyasal bir olgudur.
|
9.Soru
Aşağıdakilerden hangisi bileşik ısı ve güç sisteminin fizibilitesi sırasında dikkate alınmaz?
|
Isı oranı
|
|
Yük eğrisi
|
|
Dur-kalk sayısı
|
|
Ortam sıcaklığı
|
|
Yakıt tipi
|
10.Soru
Bir pn ekleminin akım-gerilim eğrisi altında kalan en büyük dikdörtgenin alanına ne ad verilir?
|
Akım yoğunluğu
|
|
Kısa devre akımı
|
|
Açık devre voltajı
|
|
Maksimum güç noktası
|
|
Dolum faktörü
|
11.Soru
Aşağıdakilerden hangisi elektrikli araçlarda yakıt hücrelerinin kullanılmasının sağlayacağı temel avantajlardan değildir?
|
Normal ve kısmi yüklerde yüksek çalışma verimi |
|
Doğrudan enerji dönüşümü |
|
Düşük salım değerleri |
|
Düşük gürültü seviyesi |
|
Maliyet etkin çözümlerin üretilmesi |
Elektrikli araçlarda yakıt hücrelerinin kullanılmasının sağlayacağı temel avantajlar;
- Normal ve kısmi yüklerde yüksek çalışma verimi,
- Doğrudan enerji dönüşümü,
- Düşlük salım değerleri (CO, SO2, NOx),
- Düşük bakım maliyetleri,
- Düşük gürültü seviyesi,
şeklinde sıralanabilir. Otomotiv ve enerji sektöründeki yatırımlar ile gelişimini sürdüren yakıt hücresi teknolojisinde, maliyet etkin çözümler henüz üretilememiş durumdadır.
12.Soru
Bir zincir reaksiyonda yavaşlatıcı çekirdeklerin görevi aşağıdakilerden hangisidir?
|
Reaksiyondan çıkan yüksek enerjili nötronları yavaşlatmak ve nötronların çekirdekler tarafından yutulmasını önlemek.
|
|
Kızgın buharın enerjisinin azaltılarak yavaşlamasını ve buharın türbine gönderilmesini sağlamak.
|
|
Reaksiyonda bölünen çekirdekleri yavaşlatmak.
|
|
Buhar türbinindeki dönüşümü yavaşlatmak.
|
|
Jeneratörü yavaşlatmak.
|
13.Soru
Yoğunlaştırılmış termal güneş enerjisi santrallerini ele aldığımızda aşağıdaki hangi ünite diğer klasik güneş panellerine göre daha yoğun güç elde etmemizi sağlayan bir yapıdır?
|
Yansıtıcı |
|
Soğurucu |
|
İnvertör |
|
Isı depolama tankı |
|
Kontrol ünitesi |
Yansıtıcı bütün bölgeden alınan ışınları bir noktaya yansıtarak güç yoğunluğunun artmasını sağladığı için klasik yöntemlerde bulunmamaktadır. Diğer seçeneklerdeki ekipmanlar standart donanımlardır.
14.Soru
Yüksüz bir atomda aşağıdakilerden hangisinin sayısı birbirine eşittir?
|
Elektron-nötron
|
|
Proton-nötron
|
|
Elektron-proton
|
|
Son yörüngedeki elektron sayısı-proton
|
|
Son yöründeki elektron sayısı-nötron
|
15.Soru
İki silikon atomunun karşılıklı değerlik elektronlarını kullanarak birbirlerine bağlanması hangi kimyasal bağ çeşidini ifade eder?
|
İyonik bağ |
|
Kovalent bağ |
|
Metalik bağ |
|
Van Der Waals bağı |
|
Hidrojen bağ |
Silikonun sahip olduğu 14 elektrondan 10 tanesi çekirdeğe sıkı bağlı olduğu için bu yapıya kapalı yapı denir. Geriye kalan 4 elektron ile +4 değerlikli bir atom olarak isimlendirilir. İki silikon atomu karşılıklı değerlik elektronlarını kullanarak birbirlerine bağlanır.
16.Soru
Yoğunlaştırılmış termal güneş enerjisi santralleri arasında, güneş enerjisinden elektrik enerjisine dönüşümde en yüksek verimliliği sağlayan sistem aşağıdakilerden hangisidir?
|
Parabolik toplayıcılı sistemler |
|
Çoklu sayıda düz aynanın kullanıldığı sistemler |
|
Çanak ocakları sistemi (Dish Stirling) |
|
Güç kuleleri yöntemi |
|
Yoğunlaştırılmış fotovoltaik güneş enerjisi sistemleri |
Yoğunlaştırılmış termal güneş enerjisi santralleri, aynalara bağlı güneşi izleme sistemleriyle geniş bir alana düşen güneş ışınlarını küçük bir alana odaklar. Bu odaktan elde edilen güneş enerjisi ısı enerjisine dönüştürülerek elektrik enerjisi üretilir. Yoğunlaştırılmış fotovoltaik sistemler ise güneş panelleri yoluyla elektrik üreten bir sistemdir. Farklı bir prensiple çalıştığı için bu sistemler yoğunlaştırılmış termal güneş enerjisi sistemi değildir. Bu sebeple E seçeneği öncelikli olarak sorudaki ilk koşulu sağlamamaktadır. Diğer seçeneklerin tümü ise soru köküne uygun olarak yoğunlaştırılmış termal güneş enerjisi sistemleridir ve esasen temel farkları güneş enerjisini yoğunlaştırma biçimleridir. Bu türler arasında en verimli olan çanak ocaklı sistemdir. Bu sistemde güneş enerjisi uydu alıcıları biçimindeki çanak yoğunlaştırıcıyla odaklanır. Odak noktasındaki akışkan 250-700 derece arasında ısıtılır. Isınan akışkan, stirling motorunda enerji üretimi maksadıyla kullanılır.
17.Soru
Bir silisyum kristalinde yasak enerji aralığı aşağıdakilerden hangisinde doğru olarak tanımlanmıştır?
|
Değerlik ve iletim bandı arasındaki boşluğa denir.
|
|
Değerlik bandının genişliğine denir.
|
|
İletim bandının genişliğine denir.
|
|
İçinde elektronların bulunduğu bölgeye denir.
|
|
İçinde boşlukların (hole) bulunduğu bölgeye denir.
|
18.Soru
Herhangi bir enerji türünü elektrik enerjisine çeviren makine aşağıdakilerden hangisidir?
|
Jeneratör
|
|
Türbin
|
|
Transformatör
|
|
Şalt tesisi
|
|
Savak tesisi
|
19.Soru
Birden fazla enerji dönüşüm düzeneğinin enerji gereksinimini birlikte karşılamak için kullanılan ve farklı enerji kaynaklarının bileşiminden oluşan sistemlere ne ad verilir?
|
Birleşik enerji sistemi
|
|
Toplama enerji sistemi
|
|
Hibrit enerji sistemi
|
|
Elektrik iletim sistemi
|
|
Elektrik dağıtım sistemi
|
20.Soru
Üst çevrim kojenerasyon sistemlerinde üretim önceliği aşağıdaki seçeneklerden hangisinde doğru olarak verilmiştir?
|
İlk olarak ısı enerjisi sonra elektrik enerjisi
|
|
İlk olarak elektrik enerjisi sonra ısı enerjisi
|
|
İlk olarak elektrik enerjisi sonra mekanik enerji
|
|
İlk olarak mekanik enerji sonra ısı enerjisi
|
|
İlk olarak mekanik enerji sonra elektrik enerjisi
|
-
- 1.SORU ÇÖZÜLMEDİ
- 2.SORU ÇÖZÜLMEDİ
- 3.SORU ÇÖZÜLMEDİ
- 4.SORU ÇÖZÜLMEDİ
- 5.SORU ÇÖZÜLMEDİ
- 6.SORU ÇÖZÜLMEDİ
- 7.SORU ÇÖZÜLMEDİ
- 8.SORU ÇÖZÜLMEDİ
- 9.SORU ÇÖZÜLMEDİ
- 10.SORU ÇÖZÜLMEDİ
- 11.SORU ÇÖZÜLMEDİ
- 12.SORU ÇÖZÜLMEDİ
- 13.SORU ÇÖZÜLMEDİ
- 14.SORU ÇÖZÜLMEDİ
- 15.SORU ÇÖZÜLMEDİ
- 16.SORU ÇÖZÜLMEDİ
- 17.SORU ÇÖZÜLMEDİ
- 18.SORU ÇÖZÜLMEDİ
- 19.SORU ÇÖZÜLMEDİ
- 20.SORU ÇÖZÜLMEDİ